Stahl-Muffen-Überschieber
Typ SMÜ PN 16

Muffenüberschieber als selbstdichtende, schraubenlose
Verbindungsstücke zum Verbinden zweier Rohrleitungen.
Eine optimale Alternative zum bisherigen Bördeln und Verstricken.
Herstellung und Prüfung:
nach DIN 2470 Teil 1
Abnahme nach EN 10204/3.1
Einsatzbereiche:
- Als Verbindungselement zur Verbindung unter Gas
stehender Rohrleitungen oder Formstücke aus Stahl. - Verbindung unterschiedlicher Rohrabmessungen mit
Typ SMÜ-R möglich. - Verbindung von Stahl- mit PE-Rohren mit Typ PEST – SMÜH
- Einbau unter- und oberirdisch
Erläuterung der Kurzbezeichnungen:

SMÜ – K = halber Überschieber mit
angeschweißtem Klöpperboden
SMÜ – HV = halber Überschieber einseitig
für V-Nahtschweißung
SMÜ – H = halber Überschieber
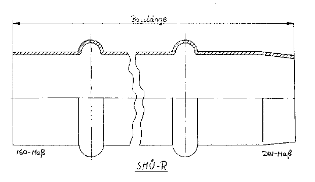
SMÜ – R = ganzer Überschieber einseitig
reduziert (DIN-ISO Maß)
Desweiteren können noch folgende Ausführungen geliefert werden:
PEST – SMÜH = PE-Stahlübergang mit angeschweißtem halben Überschieber
SMÜ – F = halber Überschieber mit angeschweißtem Vorschweißflansch
