Rollringe
Rollringe
- Material auf der Basis synthetischer Elastomere
nach DIN 4060
- zellige Struktur mit geschlossener Oberfläche
- einfache Montage
- sichere Abdichtung
- preisgünstig
Rohrleitungen und Kabel sind bei Einführung ins
Gebäude gegen Gas und Wasser abzudichten.
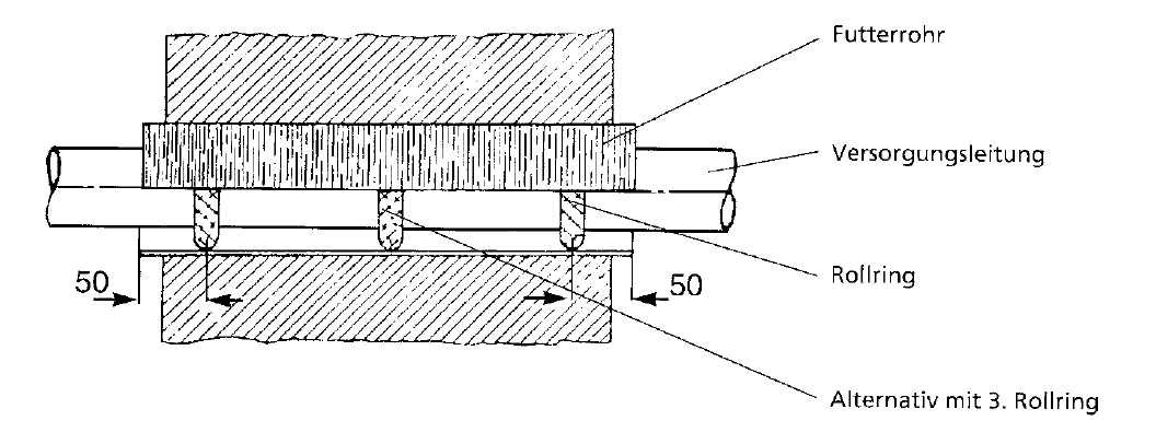
Die preisgünstige Lösung hierfür ist unser Futterrohr-
Rollring-System mit drei Rollringen.
Futterrohr-Rollring-System

Standardbeispiele für unser Futterrohr-Rollring-System

Jede von Ihnen gewünschte Rollring-Abmessung bis zu einer Schnurstärke von 28 mm ist lieferbar.
Zur Fertigung des Rollrings benötigen wir von Ihnen nur die Angabe über den Außendurchmesser
der Mediumleitung sowie den Innendurchmesser des Schutzrohres.